湖南信息网 > 热点信息 > 正文
华为官宣:P系列来了!样机可能4月底到店
网络整理 2025-09-02 08:53与华为Mate系列手机齐名的P系列手机迎来升级。
4月15日,华为终端官宣称,华为P系列升级为Pura系列。同时,华为Pura 70系列手机发布预热视频,根据预热视频,华为Pura 70系列手机摄像头或采用圆角三角形设计,有“锐意向前”的寓意。
Pura 70系列的样机将在何时到达线下门店?有华为授权体验店的工作人员告诉记者,目前还没有样机的消息,需要等待统一安排,有可能在4月底会到店,价格方面可能和上一代接近。
P系列进行升级,样机尚未到达线下门店
此前,Mate系列和P系列一直是华为旗舰机的代表,其中Mate系列主要面向高端商务人士,在综合性能方面较强,而P系列主要面向摄影爱好者,在拍照领域持续进行技术突破。
不过,近期华为P系列迎来了全新升级,更名为Pura系列。华为常务董事、终端BG CEO余承东在相关视频中表示:“华为P系列的发展史,就是移动影像的发展史。”

记者实地探访深圳的华为授权体验店,发现Pura 70系列手机样机尚未到店。对于样机到店时间,多家门店的工作人员均向记者表示,目前尚未收到通知。不过有门店工作人员告诉记者,按以往P系列普遍在3月份上市来看,今年也不会太晚,可能在4月底样机就会到店。对于Pura 70系列的价格,该店员预测称,应该和P60系列相近。
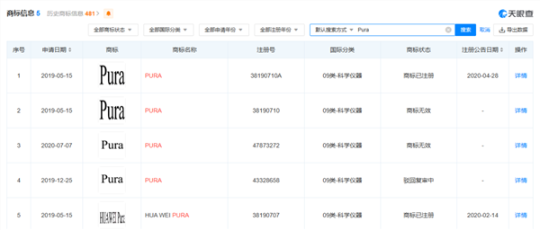
实际上,华为将P系列更名为Pura可能是“早有准备”。记者在天眼查网站中查询华为技术有限公司的知识产权信息发现,“PURA”和“HUA WEI PURA”商标已于2019年5月15日申请注册,分类为“科学仪器”,商标状态为“已注册”,注册公告时间分别为2020年4月28日和2020年2月14日。

AI摄影或成核心亮点,新机有望延续热度
上海证券相关研报表示,P70(改名前业界称呼,下同)内置了华为自研的盘古大模型,在技术上实现了端侧与云端大模型的完美融合,以AI摄影为核心亮点,语音助手、文案生成、图片视频生成等功能都能得到极大的提升。
“随着生成式大模型技术的不断成熟和应用,手机AI将更加智能化,为用户提供更加个性化和便捷的服务。如果华为盘古大模型可以使Pura 70系列在AI摄影、语音助手等方面的表现更加出色,这必将有助于华为在AI手机市场的争夺中脱颖而出,进一步稳定其在高端市场的领导地位。”深度科技研究院院长张孝荣表示。
北京社科院副研究员王鹏接受记者采访时表示:“华为P70系列的AI进化可能刺激其他手机厂商加大在AI方面的投入和创新,从而加速整个AI手机时代的到来。这种竞争态势将促使厂商提供更多智能化、个性化的手机产品和服务,最终惠及消费者。”
去年8月29日,华为终端首次推出了“HUAWEI Mate 60 Pro先锋计划”,在没有举行手机新品发布会的情况下就上线销售华为Mate 60 Pro机型,并且实现亮眼销量。据Counterpoint数据,2023年四季度华为全球手机销量同比实现三位数涨幅,是排名前十手机厂商中唯一实现这一成就的品牌。
P70的到来或许会延续此前华为Mate系列的火热行情。据天风国际分析师郭明錤此前预计,华为P70系列出货量将在2024年有显著成长,如果手机库存回补需求可持续到2024年上半年,则P70系列出货量在2024年可同比增长约230%至1500万部。
尽管目前华为Pura 70系列手机还未开售,但相关话题已经多次冲上微博热搜。战略定位专家、福建华策品牌定位咨询创始人詹军豪向记者表示,华为P70系列在未开售前就频繁登上热搜,这主要得益于其强大的技术实力、市场期待以及华为品牌的广泛影响力。华为在手机市场已经树立了高品质、创新技术的形象,消费者对其新品充满期待。
消费电子产业分析师梁振鹏接受记者采访时表示,华为Pura 70相关话题多次登上热搜,反映出华为品牌影响力的提升以及消费者对于华为新款手机的高度期待。从趋势上看,有望延续此前Mate系列的热度。
伴随着新机的持续推出,华为终端业务收入也有望持续回暖。2023年,华为全年实现营收7042亿元人民币,营收同比增长9.6%,净利润达到870亿元,同比大增144%。其中,华为终端业务成为了公司业绩的增长引擎,全年实现销售收入2515亿元人民币,同比大幅增长了17.3%。
转载请标注:信息网——华为官宣:P系列来了!样机可能4月底到店
- 上一篇:类ChatGPT应用中国版监管将如何影响行业发展?
- 下一篇:没有了
- 搜索
-
- 2025-09-02华为官宣:P系列来了!样
- 2025-09-02类ChatGPT应用中国版监管将
- 2025-09-02未央今日播报:国际货币
- 2025-09-024月16日证券之星早间消息
- 2025-09-02国际金融科技发展趋势与
- 2025-09-02↑5.3%!超29万亿元!
- 2025-09-02微信造“知乎”,“卷”
- 2025-09-02不分红就退市系误读!退
- 2025-09-02广州一举投10家GP
- 2025-09-02为“2023消费提振年”按下
- 2025-07-30“保健食品科普深度行”
- 2025-08-31工信部严厉查处“3·15”晚
- 2025-08-31深圳楼市打新更难了!有
- 2021-03-225月工业企业效益数据点评
- 2025-08-31雷军约饭李斌、李想、何
- 2025-08-31辛巴给了快手私域流量“
- 2025-08-31最新调查!中国人最爱投
- 2025-08-31证监会:支持符合条件内
- 2025-08-31交易额达875亿!数字人民
- 2025-08-31NFT平台为何密集被封
- 2025-09-02华为官宣:P系列来了!样
- 2025-09-02类ChatGPT应用中国版监管将
- 2025-09-02未央今日播报:国际货币
- 2025-09-024月16日证券之星早间消息
- 2025-09-02国际金融科技发展趋势与
- 2025-09-02↑5.3%!超29万亿元!
- 2025-09-02微信造“知乎”,“卷”
- 2025-09-02不分红就退市系误读!退
- 2025-09-02广州一举投10家GP
- 2025-09-02为“2023消费提振年”按下
- 网站分类
-
- 标签列表
